HOME > MOTION GUIDANCE > STANDARD > OTHER
HG Series Motion Guidance Systems - HGW Carriage
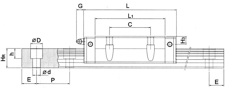
| Part Number | H | H1 | N | W | B | B1 | C | L1 | L | G | M | T | WR | HR | D | h | d | P | E |
| HGW15CC | 24 | 4.3 | 16 | 47 | 38 | 4.5 | 30 | 39.4 | 61.4 | 5.3 | M5 | 6 | 15 | 15 | 7.5 | 5.3 | 4.5 | 60 | 20 |
| HGW20CC | 30 | 4.6 | 21.5 | 63 | 53 | 5 | 40 | 50.5 | 75.6 | 12 | M6 | 8 | 20 | 17.5 | 9.5 | 8.5 | 6 | 60 | 20 |
| HGW25CC | 36 | 5.5 | 23.5 | 70 | 57 | 6.5 | 45 | 58 | 83 | 12 | M8 | 8 | 23 | 22 | 11 | 9 | 7 | 60 | 20 |
| HGW30CC | 42 | 6 | 31 | 90 | 72 | 9 | 52 | 70 | 97.4 | 12 | M10 | 8.5 | 28 | 26 | 14 | 12 | 9 | 80 | 20 |
| HGW35CC | 48 | 7.5 | 33 | 100 | 82 | 9 | 62 | 80 | 112.4 | 12 | M10 | 10.1 | 34 | 29 | 14 | 12 | 9 | 80 | 20 |
| HGW45CC | 60 | 9.5 | 37.5 | 120 | 100 | 10 | 80 | 97 | 138 | 12.9 | M12 | 15.1 | 45 | 38 | 20 | 17 | 14 | 105 | 22.5 |
| Part Number | Mounting Bolt for Rail |
C (kN) |
C0 (kN) |
Mr |
Mp (kNm) |
My (kNm) |
Weight of Carriage (kg) |
Weight of Rail |
| HGW15 | M4X16 | 11.38 | 16.97 | 0.12 | 0.10 | 0.10 | 0.17 | 1.45 |
| HGW20 | M5X16 | 17.75 | 27.76 | 0.27 | 0.20 | 0.20 | 0.40 | 2.21 |
| HGW25 | M6X20 | 26.48 | 36.49 | 0.42 | 0.33 | 0.33 | 0.59 | 3.21 |
| HGW30 | M8X25 | 38.74 | 52.19 | 0.66 | 0.53 | 0.53 | 1.09 | 4.47 |
| HGW35 | M8X25 | 49.52 | 69.16 | 1.16 | 0.81 | 0.81 | 1.56 | 6.30 |
| HGW45 | M12X35 | 77.57 | 102.71 | 1.98 | 1.55 | 1.55 | 2.79 | 10.41 |


